Servo Swing Arm Upgrade Kits
Servo Swing Arm Upgrade Kits are Available for your Uniloy® 350 Series, 400 Series, R2000, Rocheleau, Liberty, and Velocity Equipment Solutions, LLC Machines.
Designed for quick and easy installation!
We offer a Servo Swing Arm Upgrade kit that will eliminate the hydraulic rotary actuator. This upgrade kit provides smooth motion control and precise position.
GET A QUOTE
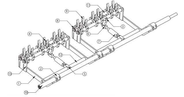
Swing Arm Assembly – 4 Head Gallon Machines
Servo Swing Arm Upgrade Details:
- Servo Motor eliminates the hydraulics in the traditional swing arm packages.
- Easy to install onto your current swing arm assembly
- Precise positions cycle after cycle
- Safety upgrade
Lightweight Swing Arm Package Details:
- Adjustable lightweight swing arsm
- Rotary Actuator
- Air Cylinder, clevis & mounting brackets
- Actuating & pivot brackets
- Swing Arm fingers
- Aluminum finger shafts

Swing Arm Assemblies Available for your 4 Head Gallon Machines.
Call your Velocity Equipment Solutions, LLC Sales Representative for more details!
800-521-1368Servo Swing Arm Upgrade Assembly – Single Rotac®
Assemblies Available for all Uniloy® Machines!
Think SAFETY
ELIMINATES Hydraulic Rotary Actuator
Providing A Smooth Motion Control and Precise Position

Part Number for Upgrade Kit: ASSY-804

* Shown for a Single Rotac® Machine.
Adjustable Swing Arm Assembly
6 Head Gallon OR 8 Head Half Gallon


Double Rotac® Machine Swing Arm Assemblies Available.
READY TO GET STARTED?
Contact US TODAY for a Quote OR AN APPOINTMENT.
Velocity Equipment Solutions Global Headquarters
2618 West State Street
New Castle, PA 16101, USA
TOLL FREE: 800-521-1368
UK Sales Office and Distribution Center
Units 4 E+F, Manor Business Park, Grants Hill Way
Woodford Halse, Nhants, NN113UB
United Kingdom
